
(波音申请新专利,无人机“秒变”潜水艇。)
中新网8月20日电 据外媒报道,飞机制造商波音公司拟研制一款两栖无人机,有关设计已获美国当局批出专利。这款无人机的独特之处,在于能潜入水中,可协助运送物资到潜艇,如同“变形金刚”。
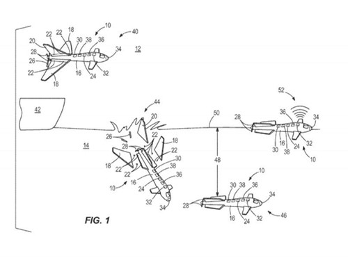
报道称,波音公司于2013年向美国专利商标局申请专利,今年4月获批。波音称,两栖无人机可用于水底侦测或运送物资到潜艇。
按照描述,无人机可从航母起飞,飞近目标后便可潜入水中,尾翼、稳定器及其中一组螺旋桨能脱离机身,方便于水底潜行。专利显示,无人机将设有爆炸螺栓 或使用可溶于盐水的胶水,令这些组件易于从机身分离。
报道指出,而无人机在水底则依靠一个浮箱控制潜水深度,另一组螺旋桨则使无人机可像其他机械潜艇般航行。当无人机浮出水面后,还可向控制中心传输数据。
据悉,专利文件并无详述无人机使用哪类型引擎或燃料,也没有消息显示波音正进行测试,估计仍处于构思阶段。
来源:中国新闻网
编辑:李莎宁 实习生 于佳丽
时刻新闻